1.用途和性能规范
本阀门适用于温度—29℃~425℃的水、气、油品等介质,在管路系统中作用于防止介质倒流,防止泵及其驱动电机反转,以及容器内介质的泄放。
2.主要结构及工作原理
本阀门采用阀瓣绕阀体内的轴旋转的单阀瓣式,靠介质逆流力关闭的阀门。
其密封原理是:依靠介质本身的流动产生的力作用,将阀瓣推向阀座紧密接触,从而达到可靠密封。
旋启式止回阀又称单向阀或逆止阀,其作用是防止管路中的介质倒流。启闭件靠介质流动和力量自行开启或关闭,以防止介质倒流的阀门叫止回阀。止回阀属于自动阀类,主要用于介质单向流动的管道上,只允许介质向一个方向流动,以防止发生事故。本类阀门在管道中一般应当水平安装、也可垂直安装。
其动作原理是阀门靠管路中介质自身的流动产生的力而自动开启和关闭的,属于一种自动阀门。
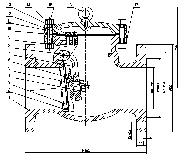
具体结构见附图所示。
3.要外型尺寸及连接尺寸(见附图)

1阀体 2阀座 3 阀瓣 4平垫片阀 5六角螺母 6开口肖 7 摇杆8 销轴 9 支架 10 弹簧垫片 11螺钉 12 中法兰垫片 13阀盖 14六角螺母15双头螺柱 16 吊环螺钉 17 标牌
4.主要零件材料
|
序号 零件名称 材料 |
|
1 阀体、阀盖、支架、摇杆、阀瓣 CF8 |
|
2 销轴 304 |
|
3 双头螺栓 A194 8 |
|
4 螺母 A193 B8 |
5.采用的主要标准
5.1设计制造按GB/T 12236的规定;
5.2结构长度按GB/T 12221的规定;
5.3连接法兰按JB/T 79的规定;
5.4检验与试验按GB/T 9092的规定;
6.保管、安装、使用和维护
1、 阀门未使用时,应将阀瓣处于开启状态,并于阀瓣进行固定,防止密封副损伤,机械加工部位应涂以防锈油,阀门应整齐地存放在通风干燥的库房内,严禁堆置和露天存放;阀门两端应用盖板封堵,以防灰尘、杂质进入阀门内部。
2、 若需长期存放时,应定期检查及时清除表面油污和锈迹,并更换防锈油。
3、 安装前应仔细核对阀门的标志及合格证是否符合使用要求,确认无误后方进行按装。
4、 在使用中应随时观察,发现故障应立即查明原因并消除。
7.可能发生的故障、原因及消除方法
|
阀门关闭后介质泄漏 |
由于阀座密封表面磨损、破坏或有污物而丧失密封 |
拆开阀门,清洗,研磨或更换密封圈 |
|
阀体与阀盖连接处介质泄漏 |
因未拧紧螺栓而失去密封性 垫片损坏 阀体或阀盖的密封面损坏 |
均匀地拧紧螺栓
更换垫片 拆下阀盖,修理缺陷研磨密封面 |
8.注意事项
8.1 本阀门的材料选择及其在使用中变质的可能性和必要的定期检查由用户负责考虑。
8.2 本阀门设计只考虑一般工况,如有特殊要求必须在合同上注明。
8.3 本阀门设计只考虑轻微腐蚀,对于有严重腐蚀或特殊腐蚀的场合,本阀门不适用。
8.4 阀门的工作温度范围不得超过设计温度,超过(含瞬时)此范围引起的后果完全是用户的责任。
8.5 阀门在工作过程中的体表温度可能引起人体烫伤,用户必须在相应部位设置警示标志。
8.6 阀门在运行过程中不得焊接修补和表面涂漆。
8.7 阀门在受压状态下不得拆卸。
8.8 阀门在修理过程中需按第六条表中的材料匹配。
8.9 本阀门设计未进行寿命计算,试用及疲劳校核,用户在使用中必须定期检修,更换。
8.10 本阀门设计未考虑地震载荷,由此引起的后果,制造厂概不负责。